
А ADV7401KSTZ-140 является сложным видео-декодером и графикой RGB с аналоговыми устройствами, предназначенным для обработки различных видеоформатов, включая PAL, NTSC и SECAM, и преобразовать их в цифровой формат ITU-R BT.656.Этот чип выделяется благодаря своей способности декодировать компоненты видеосигналов RGB/YPRPB и оцифровать графику RGB с разрешениями до 1280 × 1024 при 75 Гц (SXGA).Он уполномочен четырьмя 10-битными АЦП, которые работают с показателями отбора проб до 140 МГц, что обеспечивает высококачественную видеопроводу для требовательных приложений.Семейство ADV7401 включает в себя несколько моделей, таких как ADV7401BSTZ-110 и ADV7401BSTZ-80, которые поддерживают более низкие максимальные скорости отбора проб ADC 110 МГц и 80 МГц соответственно, что позволяет выбрать модель, которая соответствует их конкретному разрешению и требованиям к производительности.Эта гибкость делает серию ADV7401 главным выбором, требующим надежных возможностей обработки видео.
Если вы хотите увеличить линейку продуктов с помощью высокопроизводительного видео декодирования, мы настоятельно рекомендуем разместить с нами объемный заказ для ADV7401KSTZ-140.

|
Штифт № |
Мнемоник |
Тип |
Функция |
|
5, 11, 17, 40, 89 |
DGND |
Глин |
Цифровое земля. |
|
49, 50, 66 |
Агнд |
Глин |
Аналоговая земля. |
|
6, 18 |
DVDDIO |
П |
Цифровое напряжение ввода/вывода (3,3 В). |
|
12, 39, 90 |
DVDD |
П |
Цифровое напряжение подачи ядра (1,8 В). |
|
63 |
Avdd |
П |
Аналоговое напряжение питания (3,3 В). |
|
47, 48 |
Pvdd |
П |
Напряжение питания PLL (1,8 В). |
|
51 |
Фб |
я |
Быстрый переключатель вход.Этот PIN -код переключается между CVBS
и аналоговые сигналы RGB. |
|
54, 56, 58, 72, 74, 76, 53, 55, 57, 71, 73, 75 |
AIN1 до AIN12 |
я |
Аналоговые видео входные каналы. |
|
42, 41, 28, 27, 26, 25, 23, 22, 10, 9, 8, 7, 94, 93, 92,
91 |
P2 до P9, P12 до P19 |
О |
Видео -пиксельный выходной порт. |
|
33, 32, 31, 30, 29, 24, 14, 13 |
P22 до P29 |
Ввод |
Видеовод/выходной порт. |
|
44, 43, 21, 20, 45, 34, 2, 1, 100, 97, 96, 95, 88, 87,
84, 83 |
P0 до P1, P10 до P11, P20 до P21, P31 до P40 |
я |
Видео -пиксельный входной порт. |
|
3 |
Инт |
О |
Прерывать.Этот штифт может быть активным низким или активным высоким.
Когда биты статуса SDP/CP изменяют этот PIN -код.Набор событий, которые
Триггеры прерывание находится под управлением пользователя. |
|
4 |
HS/CS |
О |
HS - выходной сигнал горизонтальной синхронизации (SDP и
Режимы CP).CS - это цифровой композитный сигнал синхронизации (и может быть
Выбран в режиме CP). |
|
99 |
ПРОТИВ |
О |
Вертикальный выходной сигнал синхронизации (SDP и CP
режимы). |
|
98 |
Поле/де |
О |
Полевый выходной сигнал синхронизации (все промежуточное видео
режимы).Этот вывод также может быть включен в качестве сигнала включения данных (DE) в режиме CP
Чтобы разрешить прямое соединение с HDMI/DVI TX IC. |
|
81, 19 |
SDA1, SDA2 |
Ввод |
I²C порт последовательные данные ввода/вывода.SDA1 - это данные
Линия для порта управления и SDA2 является строкой данных для чтения VBI
порт |
|
82, 16 |
SCLK1, SCLK2 |
я |
I²C порт последовательный вход часов (максимальная тактовая частота 400 кГц).
SCLK1 - это часовая линия для порта управления, а SCLK2 - это часовая линия для
порт чтения данных VBI. |
|
80 |
Alsb |
я |
Этот вывод выбирает адрес I²C для управления ADV7401
и VBI Readback Ports.ALSB устанавливается на Logic 0 Устанавливает адрес для записи на
Управляющий порт 0x40 и адрес Readback для порта VBI 0x21.Alsb
Установите логику высокой установки адрес для порта для управления портом 0x42 и
Адрес считывания для порта VBI 0x23. |
|
78 |
ПЕРЕЗАГРУЗИТЬ |
я |
Сброс системы, активный низкий.Минимальный импульс с низким сбросом
Ширина 5 мс требуется для сброса схемы ADV7401. |
|
36 |
LLC1 |
О |
LLC1-это выходные часы для данных для данных Pixel
(Диапазон от 12,825 МГц до 140 МГц для ADV7401KSTZ-140; 12,825 МГц до 110 МГц
для ADV7401BSTZ-110;12,825 МГц до 80 МГц для ADV7401BSTZ-80). |
|
38 |
Xtal |
я |
Входной штифт в кристалл 28,63636 МГц или может быть
перегружен внешним 3,3 В 28,63636 МГц.
ADV7401. |
|
37 |
Xtal1 |
О |
Этот штифт соединяется с кристаллом 28,63636 МГц или позволяет
Использование подключения к 3,3 В 28,63636 МГц -генератора такта будет использоваться в качестве
Часы для ADV7401.В режиме кристалла кристалл должен быть фундаментальным. |
|
46 |
ELPF |
О |
Рекомендуемый внешний петлей должен быть подключен к
этот PIN -код ELPF. |
|
70 |
Тест0 |
Северо -запад |
Этот штифт должен быть оставлен без подключения или альтернативно связана
в Агнд. |
|
59 |
Тест1 |
О |
Этот штифт должен быть оставлен без подключения. |
|
15 |
Sfl/sync_out |
О |
Замок частоты поднесения (SFL).Этот штифт содержит
Последовательный выходной поток, который можно использовать для блокировки частоты поднесущего, когда
Этот декодер подключен к любым аналоговым устройствам цифрового видеокодера.
SYNC_OUT - это нарезанный выходной сигнал синхронизации, доступный только в режиме CP. |
|
64 |
Откат |
О |
Внутренний референтный выходной сигнал. |
|
65 |
CML |
О |
PIN-контакт уровня общего режима (CML) для внутренних ADC. |
|
61, 62 |
Capy1, capy2 |
я |
АЦП -конденсаторная сеть. |
|
68, 69 |
CAPC1, CAPC2 |
я |
АЦП -конденсаторная сеть. |
|
67 |
ПРЕДВЗЯТОСТЬ |
О |
Настройка внешнего уклона.Подключите рекомендуемые
резистор (1,35 кОм) между штифтом и землей. |
|
86 |
HS_IN/CS_IN |
я |
Можно настроить в режиме CP, чтобы быть цифровым HS
входной сигнал или цифровой входной сигнал CS, используемый для извлечения времени в 5-проводном
или 4-проводной режим RGB. |
|
85 |
VS_IN |
я |
VS входной сигнал.Используется в режиме CP для 5-проводного режима времени. |
|
79 |
De_in |
я |
Данные включают входной сигнал.Используется при 24-битном цифровом вводе
Режим порта (например, обработка 24-битных данных RGB из IC DVI RX). |
|
35 |
Dclk_in |
я |
Сигнал ввода часов.Используется в 24-битном режиме цифрового ввода
(например, обработка 24-битных данных RGB из DVI RX IC), а также в
Цифровой режим ввода CVBS. |
|
52 |
Промежуточный |
я |
Синхронизирован на зеленом входе.Используется во встроенном режиме синхронизации. |
|
77 |
Соевый |
я |
Синхронизирована при входе Luma.Используется во встроенном режиме синхронизации. |
• Высокоскоростное преобразование аналого-цифрового: ADV7401KSTZ-140 оснащен четырьмя 10-битными аналовыми цифровыми преобразователями (ADC), которые могут работать с скоростями отбора проб до 140 МГц.Эта возможность позволяет ему эффективно оцифровать видеосигналы с высоким разрешением, что делает их подходящими для передовых приложений обработки видео.
• Универсальный аналоговый входной мультиплексор: Это устройство имеет 12-канальный аналоговый входной мультиплексор, который включает в себя поддержку Fast Blank Scart.Эта функциональность позволяет беспрепятственно переключаться между различными аналоговыми источниками видео, приспосабливаясь к различным требованиям к вводу для видеосистем.
• Комплексная поддержка видео стандарта: ADV7401KSTZ-140 поддерживает широкий спектр стандартов видео, включая NTSC, PAL и SECAM.Он также может обрабатывать компонентные видео форматы, такие как 525p, 625p, 720p и 1080i, обеспечивая совместимость с различными глобальными видео форматами и разрешениями.
• Графическая оцифровка: Способный оцифровать графику RGB до разрешения 1280 × 1024 при 75 Гц (SXGA), ADV7401KSTZ-140 идеально подходит для приложений, требующих графической обработки с высоким разрешением, таких как передовые системы наблюдения и цифровые вывески.
• Расширенное преобразование цветового пространства: Устройство включает в себя матрицу преобразования цветного пространства 3 × 3, которая облегчает гибкое преобразование между различными цветными пространствами, такими как YCRCB в RGB и наоборот.Эта функция отлично подходит для поддержания точности и качества в мультимедийных приложениях.
• Цифровой порт ввода: ADV7401KSTZ-140 включает 24-битный цифровой входной порт, который поддерживает данные из приемника DVI/HDMI.Эта функция повышает совместимость чипа с современными цифровыми источниками видео, что позволяет интегрировать его в широкий спектр цифровых мультимедийных систем.
• Программируемые выходные интерфейсы : Он предлагает программируемый выходной интерфейс, который можно установить на 12-битный 4: 4: 4 или 8-битный 4: 2: 2 Форматы вывода с двойной скоростью передачи данных (DDR).Эта гибкость гарантирует, что вывод может быть адаптирован для удовлетворения конкретных потребностей применения, будь то для вещательного оборудования или электроники.

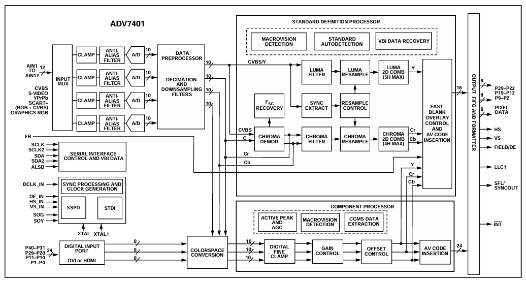
Диаграмма ADV7401KSTZ-140 Иллюстрирует внутренние функциональные блоки этого расширенного видео -декодера и цифр, подчеркивая, как он обрабатывает различные аналоговые видеосигналы в цифровой вывод.Чип поддерживает несколько входных форматов, таких как CVBSВ S-VideoВ Ypbpr, и RGBвсе маршрутизировано через входной мультинг, который выбирает среди 12 аналоговых входов (AIN1 до AIN12).Каждый выбранный сигнал проходит через Зажим и Антиолис фильтр Подготовить сигнал для оцифровки одним из интегрированных 10-битных аналого-цифровых преобразователей (A/D).
После оцифровки сигналы обрабатываются в Данные препроцессор, который включает в себя Децимация и Снижение фильтров Чтобы снизить ставки данных и подготовить сигналы для дальнейшей цифровой обработки.В зависимости от типа ввода, видео может быть обработано через либо Стандартный процессор определения или Компонентный процессорПолемА Сд Процессор обрабатывает композитные и S-видео сигналы, выполняющие такие задачи, как Демодуляция ChromaВ Люма и фильтрация ChromaВ Фильтрация гребня, и Переосмысление, обеспечивая четкое разделение компонентов яркости и хроминанты.Он также включает в себя такие функции, как Обнаружение макровификации и VBI Data RecoveryПолем
Для видео компонента, Компонентный процессор отвечает за такие операции, как Получить контрольВ Коррекция смещения, и Активный пик и Агентство корректировки.Это включает в себя CGMS и Макровидение Обнаружение данных для соответствия защите копий.Кроме того, есть Преобразование цветов адаптироваться YCBCR или RGB сигналы в требуемый выходной формат.Все обработанные сигналы сходится в Вывод FIFO и Формат, где они выровнены, отформатированы и синхронизируются перед выводами в виде цифровых данных пикселей вместе с сигналами синхронизации, такими как HSВ ПРОТИВВ Поле/деи другие.Диаграмма также показывает поддержку DVI или HDMI Ввод через 8-битный цифровой порт и встроенный Сериал Управление интерфейсом для связи и конфигурации.
|
Тип |
Параметр |
|
Производитель |
Analog Devices Inc. |
|
Упаковка |
Поднос |
|
Статус частично |
Активный |
|
Функция |
Декодер, цифровой |
|
Приложения |
Потребительское видео |
|
Стандарты |
ITU-R BT.656, NTSC, PAL, SECAM |
|
Управление интерфейсом |
Сериал |
|
Напряжение - поставка |
1,65 В ~ 3,6 В. |
|
Монтажный тип |
Поверхностное крепление |
|
Пакет / корпус |
100-LQFP |
|
Пакет устройства поставщика |
100-LQFP (14x14) |
|
Базовый номер продукта |
ADV7401 |
Телевизоры высокой четкости (HDTV)
ADV7401KSTZ-140 используется в различных типах моделей HDTV, включая LCD, DLP ™, плазму и CRT, для декодирования и обработки широкого спектра видеосигналов.Его способность обрабатывать несколько стандартов и форматов вещания делает его важным компонентом для обеспечения широкой совместимости и высококачественной видеопровода в телевизионных технологиях.
Проекторы
Этот видеокодер является неотъемлемой частью как LCD, так и в DLP -проекторах, где он расширяет возможности обработки видео.Это позволяет проекторам точно отображать контент с высоким разрешением, что делает его идеальным как для домашнего театра, так и для профессиональных сред.
Settop Boxs (STBS) с личным видеорегистратором (PVR)
В приставках ADV7401KSTZ-140 облегчает декодирование различных видео форматов, чтобы просмотреть и записывать контент из разных источников.Эта функция поддерживает функциональность личных видеомагнитоспособности, гибкие параметры просмотра и записи.
Аудио-видео приемники (AVRS)
Чип усиливает приемники аудиовидео, интегрируя надежные возможности декодирования видео с управлением аудио.Эта интеграция полезна для AVRS, используемых в домашних развлекательных системах, обеспечивая бесшовную аудио и видеоролику на одном устройстве.
Multiformat Scan Converters
ADV7401KSTZ-140 используется в многоформных преобразователях сканирования, чтобы помочь в преобразовании видеосигналов между различными форматами и разрешениями.Это приложение отлично подходит для обеспечения совместимости и поддержания качества видео в различных технологиях отображения и стандартах.
Рекордеры DVD с прогрессивной поддержкой ввода сканирования
В DVD-рекордерах ADV7401KSTZ-140 играет роль, декодируя и оцифруя входящие видеосигналы, поддерживая прогрессивные входы сканирования.Эта возможность позволяет DVD-рекордерам захватывать и хранить высококачественный видеоконтент, повышая общее качество записи.
1. Выберите соответствующий первичный режим (prim_mode) и видео стандарта (vid_std): Первичный режим и видео стандарт важен, поскольку он определяет, как ADV7401KSTZ-140 интерпретирует входящий видеосигнал.Регистр prim_mode идентифицирует основной формат видео входа (например, NTSC, PAL), в то время как в регистре vid_std указывается стандартные данные (например, 525i, 625i).Установка этих регистров правильно гарантирует, что видео -декодер может обрабатывать конкретные атрибуты входного сигнала, такие как частота кадров и разрешение.
2. Настройте часы защелки (latch_clk): Настройка часов защелки важна для синхронизации обработки видеодантеров.Программируя регистр latch_clk, вы настраиваете время защелки данных в соответствии с тактовой частотой пикселя входного видео.Этот шаг важен, чтобы гарантировать, что видео -декодер правильно фиксирует и обрабатывает каждый пиксель в нужное время, избегая проблем с времени или повреждения данных.
3. Установите отношение PLL разделителя: Этот шаг включает в себя вручную настройку коэффициента разделителя PLL (Lop-Lop) для генерации правильного выхода пиксельных часов с данной входной частоты.Включив ручное управление (PLL_DIV_MAN_EN) и программируя PLL_DIV_RATIO, вы можете точно настроить выходные часы пикселя в соответствии с конкретными потребностями вашего дисплея или дальнейшей системы обработки.Этот точный контроль хорош для поддержания целостности сигнала и синхронизации в вашей цепочке обработки видео.
4. Настройте настройки диапазона VCO и настройки заряда PLL: Установка диапазона VCO (контролируемого напряжением) и регулировка насоса заряда PLL важна для стабилизации частоты сгенерированных пиксельных часов.Регистры VCO_RANGE и PLL_QPUMP позволяют оптимизировать производительность PLL в различных условиях работы, гарантируя, что выходные часы остаются стабильными и в соответствии с необходимыми спецификациями для надежного декодирования видео.
5. Установите длину свободной линии (FR_LL): В ситуациях, когда видео ввод теряется или прерывается, настройка длины свободной линии помогает поддерживать постоянный выход, указав длину линии в режиме свободного запуска.Рассчитая и установив регистр FR_LL на основе ожидаемого периода строки, ADV7401KSTZ-140 может продолжать выводить видео кадры с правильным временем, что полезно для приложений, которые требуют постоянного присутствия видео.
Универсальная совместимость формата
ADV7401KSTZ-140 выделяется благодаря своей способности поддерживать широкий спектр видео стандартов, включая NTSC, PAL, SECAM и форматы высокой четкости, такие как 720p и 1080i.Он может обрабатывать графику RGB до разрешения SXGA.Эта широкая совместимость позволяет использовать чип в различных приложениях, не беспокоясь о ограничениях формата.
Высококачественная обработка видео
ADV7401KSTZ-140, оснащенные четырьмя 10-битными АЦП, которые могут попробовать до 140 МГц, обеспечивает высококачественную обработку видео.Эта возможность позволяет ему захватывать и преобразовать видеосигналы с повышенной ясностью и точностью цвета, обеспечивая превосходное воспроизведение видео.Это полезно в приложениях, где важно качество видео, например, в медицинской визуализации, вещании высокой четкости и системы наблюдения за безопасностью.
Упрощенная дизайн системы
Интегрируя как функциональные возможности оцифровки графики RGB, так и функции оцифровки RGB в один чип, ADV7401KSTZ-140 упрощает общую конструкцию системы.Эта интеграция уменьшает количество компонентов, необходимых на этапе проектирования, что приводит к экономии затрат с точки зрения как материалов, так и сборки.Это также повышает надежность системы из -за меньшего количества взаимосвязи и потенциальных точек отказа, что делает ее эффективным решением для сложных мультимедийных систем.
Гибкие параметры вывода
Устройство предлагает гибкие выходные интерфейсы, способные поддерживать 12-разрядные форматы 4: 4: 4: 4 и 8-бит 4: 2: 2 двойной скорости данных (DDR).Эта гибкость позволяет настроить выходной формат на основе их конкретных требований применения, независимо от того, нуждается ли они в высокой цветовой точности для цифровых вывесок или оптимизированных форматов пикселей для видео интерфейсов.Эта адаптируемость гарантирует, что ADV7401KSTZ-140 может быть эффективно использован по разным конечному уходу.
Надежная производительность в различных условиях
ADV7401KSTZ-140, предназначенный для работы в рамках промышленного температурного диапазона от -40 ° C до +85 ° C.Эта надежность делает его подходящим для использования в приложениях на открытом воздухе, промышленных условиях и других сценариях, где колебания температуры вызывают беспокойство.Вы можете полагаться на устройство для поддержания постоянной производительности, независимо от тепловых проблем, которые могут возникнуть в операционных средах.
|
Параметр |
Измерение (мм) |
|
Размер тела (типичный) |
14.00 × 14,00 |
|
Размер тела (мин - макс) |
13.80 - 14.20 |
|
Общий пролет свинца (мин - макс) |
15,80 - 16,20 |
|
Высота упаковки (максимум) |
1.6 |
|
Высота тела (мин - макс) |
1,35 - 1,45 |
|
Ширина свинца (мин - макс) |
0,17 - 0,27 |
|
Свинцовый шаг (базовый интервал) |
0,5 |
|
Высокая высота противостояния |
0,05 - 0,15 |
|
Диапазон угла свинцового угла |
0 ° - 7 ° |
|
Ведущий копланарие (максимум) |
0,08 |

ADV7401KSTZ-140-это сложный видеокодер Multiformat Video Decoder и Graphics, который производится Analog Devices Inc., известный лидер в полупроводниковой промышленности.Аналоговые устройства, известные своими инновациями и надежностью, специализируются на разработке и производстве широкого спектра интегрированных цепей для применений обработки сигналов.Экспертиза компании гарантирует, что ADV7401KSTZ-140 способен предоставить высокопроизводительное декодирование видео, поддерживая различные видеоформаты и стандарты для мультимедийных приложений.
ADV7401KSTZ-140 выделяется как надежное и гибкое решение для требования задач обработки видео.При поддержке нескольких глобальных видео стандартов, оцифровки RGB с высоким разрешением, программируемых выходных форматов и эксплуатации между промышленными температурными диапазонами, она обеспечивает надежность и производительность как в потребительских, так и в профессиональных средах.Будь то улучшение мультимедийных систем, упрощения архитектуры проектирования или обеспечения совместимости в различных форматах, этот декодер/цифровой диаметр предлагает преимущества.ADV7401KSTZ-140 остается универсальным и готовым к будущим компонентам для интегрированных видео приложений.
Пожалуйста, отправьте запрос, мы ответим немедленно.
ADV7401KSTZ-140 отделяется с комбинацией 4 высокоскоростных 10-битных ADC, работающих на уровне до 140 МГц, поддержки разрешений SXGA и его способности обрабатывать как видео, так и графические сигналы RGB.Он также интегрирует расширенное преобразование цветового пространства, обнаружение макровификации и гибкие выходные интерфейсы, что делает его идеальным для приложений, нуждающихся в как качестве, так и адаптации.
Не напрямую.ADV7401KSTZ-140 не имеет собственного приемника HDMI, но он может принимать цифровые входы через свой 24-битный цифровой порт ввода из внешнего IC-приемника HDMI или DVI, таких как аналоговые устройства ADV7611.Это позволяет вам включить источники HDMI в вашу систему, используя этот чип.
Для базовых задач декодирования не требуется дополнительная память, но в зависимости от вашей системной архитектуры, для настройки чипа может потребоваться процессор микроконтроллера или хоста.В высококлассных системах он часто сочетается с FPGAS или DSP для дальнейшей обработки.
Хотя точное значение зависит от вашей конфигурации и использования АЦП и выходных портов, типичная рассеяние мощности варьируется от 0,8 Вт до 1,2 Вт при полной нагрузке.Всегда обращайтесь к указаниям таблицы данных и тепловой конструкции, чтобы обеспечить надлежащее рассеяние тепла.
Да.ADV7401KSTZ-140 поддерживает автоматическое обнаружение Video Standard по всем входам NTSC, PAL и SECAM.Используя свои регистры автоматического обнаружения, ваша система может динамически переключаться между форматами без вмешательства пользователя, идеально подходит для мультиформных сред.
на 2025/04/3
на 2025/04/3
на 8000/04/17 147713
на 2000/04/17 111726
на 1600/04/17 111322
на 0400/04/17 83609
на 1970/01/1 79260
на 1970/01/1 66777
на 1970/01/1 62946
на 1970/01/1 62824
на 1970/01/1 54028
на 1970/01/1 51989