
А 2N3906 это обычно используемый транзистор PNP, который хорошо служит в задачах усиления и переключения с низким энергопотреблением.Разработанный для обработки умеренных уровней напряжения и небольших токов, он работает путем переключения соединений коллекционера и излучателя между открытыми и закрытыми состояниями в зависимости от напряжения базового штифта.Когда базовый штифт заземлен, транзистор находится в первом состоянии, что позволяет току переходить от излучателя к коллекционеру.Когда к основанию применяется сигнал, он переходит в состояние обратного смещения, останавливая поток тока.
С точки зрения усиления от 110 до 300, этот транзистор может эффективно усилить небольшие сигналы.Тем не менее, он имеет текущий предел своего коллекционера, поэтому он лучше всего подходит для приложений, где текущее требование остается ниже 200 мА.2N3906 имеет два основных операционных состояния: насыщение, при котором транзистор полностью включен, позволяя максимально поток тока и отсечение, где он полностью отключен без тока между эмиттером и коллекционером.Эти свойства делают его универсальным для многих приложений общего назначения, будь то в основных усилителях или простых цепях переключения.

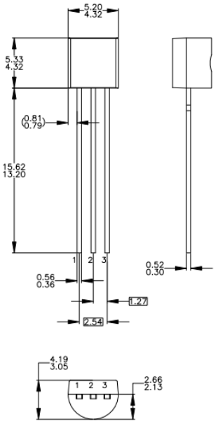
| PIN -код | Название вывода | Описание |
| 1 | Излучатель | Текущий истощается через излучение |
| 2 | База | Контролирует смещение транзистора |
| 3 | Коллекционер | Текущий течет через коллекционер |



2N3906 является транзистором PNP, что означает, что он проводит ток, когда его основание находится на более низком напряжении, чем эмиттер.Эта конструкция позволяет ему эффективно управлять потоком тока в цепях низкой мощности, где необходим этот тип полярности.
При усилении тока постоянного тока (HFE) до 300 2N3906 может усиливать небольшие базовые токи для производства более крупных токов коллектора.Эта функция делает его хорошим выбором для приложений, требующих умеренного усиления сигнала.
Транзистор может обрабатывать непрерывный ток коллектора 200 мА.Эта емкость позволяет ему управлять устройствами с низкой мощностью без перегрева или необходимости дополнительных мер охлаждения, при условии, что ток остается в его безопасном диапазоне.
Напряжение базы излучателя (VBE) 5V означает, что 2N3906 может управлять цепями с разумным диапазоном напряжения, что делает его подходящим для типичных низковольтных применений без требуния сложных корректировок.
2N3906 доступен в пакете TO-92, который является небольшим и удобным для использования на хлебных щитах и в компактных цепях.Это позволяет легко интегрироваться в проекты, где пространство ограничено.
Технические характеристики, особенности, характеристики и компоненты со сравнимыми спецификациями на полупроводнике 2N3906BU.
| Тип | Параметр |
| Статус жизненного цикла | Активный (последний обновлен: 2 дня назад) |
| Время выполнения завода | 6 недель |
| Устанавливать | Через дыру |
| Монтажный тип | Через дыру |
| Пакет / корпус | TO-226-3, TO-92-3 (TO-226AA) |
| Количество булавок | 3 |
| Масса | 179 мг |
| Материал транзистора | Кремний |
| Напряжение разбивки коллекционера-эмиттер | 40 В |
| Количество элементов | 1 |
| hfemin | 100 |
| Рабочая температура | -55 ° C ~ 150 ° C TJ |
| Упаковка | Масса |
| Опубликовано | 2007 |
| Код JESD-609 | E3 |
| PBFREE CODE | да |
| Статус частично | Активный |
| Уровень чувствительности влаги (MSL) | 1 (неограниченный) |
| Количество терминаций | 3 |
| Код ECCN | Ear99 |
| Терминальная отделка | Олово (SN) |
| Напряжение - рейтинг DC | -40V |
| Максимальная диссипация власти | 625 МВт |
| Терминальная позиция | НИЖНИЙ |
| Текущий рейтинг | -200 мА |
| Частота | 250 МГц |
| Базовый номер детали | 2N3906 |
| Конфигурация элемента | Одинокий |
| Рассеяние власти | 625 МВт |
| Приложение транзистора | Переключение |
| Получить продукт полосы пропускания | 250 МГц |
| Полярность/Тип канала | Pnp |
| Тип транзистора | Pnp |
| Напряжение излучателя коллекционера (VCEO) | 40 В |
| Макс Коллекторный ток | 200 мА |
| DC ток усиление (HFE) (min) @ IC, VCE | 100 @ 10ma 1V |
| Vce saturation (max) @ ib, ic | 400 мВ @ 5ma, 50 мА |
| Частота перехода | 250 МГц |
| Базовое напряжение коллекционера (VCBO) | -40V |
| Напряжение базового излучения (Vebo) | -5V |
| Включите время-макс (тонна) | 70NS |
| Высота | 5,33 мм |
| Длина | 5,2 мм |
| Ширина | 4,19 мм |
| Достичь SVHC | Нет SVHC |
| Радиационное упрочнение | Нет |
| Статус ROHS | ROHS3 соответствует |
| Свободно привести | Свободно привести |


| Номер модели | Производитель | Описание |
| 2N3906D26Z | Fairchild Semiconductor Corporation | Небольшой сигнальный биполярный транзистор, 0,2A I (C), 40 В V (BR) генеральный директор, 1-элемент, PNP, кремний, до-92 |
| 2N3906D27Z | Fairchild Semiconductor Corporation | Небольшой сигнальный биполярный транзистор, 0,2A I (C), 40 В V (BR) генеральный директор, 1-элемент, PNP, кремний, до-92 |
| 2n3906rlrmg | На полупроводнике | Биполярный транзистор PNP малого сигнала, до-92 40 В, 0,2 а, до-92 (до 226). |
| 2n3906rlra | Motorola полупроводниковые продукты | Небольшой сигнальный биполярный транзистор, 0,2A I (C), 40 В V (BR) генеральный директор, 1-элемент, PNP, кремний, до-92 |
| 2N3906AMO | NXP полупроводники | Транзистор 200 мА, 40 В, PNP, SI, Small Signal Transistor, TO-92, BIP General Mage Small Signal |
| 2n3906rlrpg | Rochester Electronics LLC | 200 мА, 40V, PNP, SI, Small Signal Transistor, TO-92, случай 29-11, до 226, 3 PIN |
| 2N3906G | Микро коммерческие компоненты | Небольшой сигнальный биполярный транзистор, 0,2A I (C), 40 В V (BR) генеральный директор, 1-элемент, PNP, кремний, TO-92, пластиковый пакет-3 |
| 2N3906TA | На полупроводнике | 200 мА, 40 В PNP, биполярная переходная переходная транзистора, 2000 года. |
| 2N3906Stob | Zetex / Diodes Inc | Небольшой сигнальный биполярный транзистор, 0,2A I (C), 40 В V (BR) генеральный директор, 1-элементный, PNP, кремний, стиль TO-92, E-Line Package-3 |
• BC157
• BC558
• 2SA1943
• BD140
• S8550
• TIP127
• TIP42
В базовой схеме PNP с использованием 2N3906 транзистор обычно функционирует как переключатель или усилитель.Для работы в качестве переключателя излучатель подключен к положительному источнику напряжения, таким как +3V, в то время как на основе помещается выключатель кнопки.С непредвиденной кнопкой, ни один ток не течет к базе, сохраняя транзистор в состоянии «на» по умолчанию.Эта конфигурация позволяет току проходить к коллекционеру, питая любой подключенный компонент, такой как светодиод.
Когда кнопка нажимается, напряжение в основании становится больше, чем на эмиттере, который блокирует поток тока между эмиттером и коллекционером, эффективно отключая любой подключенный компонент.Эта установка демонстрирует основной принцип транзистора PNP: она остается в состоянии «на», пока базовое напряжение ниже, чем эмиттер.Когда базовое напряжение превышает излучение, оно блокирует поток тока, тем самым выключая цепь «выключен».

2N3906 широко применимо для задач переключения и усиления.Его структура делает его идеальным для переключения высоковольтных, низких нагрузок, особенно при работе в пределах его предела в 200 мА.Его можно использовать в цепях, где необходимо последовательное, низкоуровневое усиление, хотя его предел усиления означает, что оно не подходит для усиления тяжелых.Из-за своей природы PNP он часто выбирается, когда требуются конфигурации обратной полярности, что делает его универсальным для различных применений с низкой мощностью, включая контроль сигнала, светодиодные схемы и драйверы с низким тока.
Работать 2N3906 как переключатель прост.В стандартной конфигурации PNP транзистор обычно является «на», когда основной штифт заземлен.Это положение «в» по состоянию позволяет току переходить от излучателя к коллекционеру.Чтобы выключить выключатель «выключение», к базовому штифту применяется источник напряжения, который предотвращает протекать ток между эмиттером и коллекционером.Эта конструкция помогает в управлении небольшими нагрузками, не требуя сложной настройки.
Чтобы защитить транзистор в режиме переключения, часто размещает резистор между базой и контролирующим входом, рассчитанным с использованием формулы rb = vbe / ib.Этот резистор гарантирует, что ток, поступающий к базовому штифту, остается в безопасных пределах, предотвращая любое потенциальное повреждение транзистора.При настройке этого резистора 2N3906 может надежно контролировать диапазон устройств с низким содержанием тока, таких как небольшие двигатели или светодиоды.

Части справа имеют спецификации, аналогичные полупроводнику 2N3906BU.
| Производитель | 2N3906BU | 2N3906TA | 2n3906tfr |
| На полупроводнике | Через дыру | Через дыру | Через дыру |
| Пакет / корпус | До 226-3, до-92-3 | TO-226-3, TO-92-3 (TO-226AA) | TO-226-3, TO-92-3 (TO-226AA) |
| Коллекционер Эмиттер Б. | 40 В | 40 В | 40 В |
| Max Collector Curr. | 200 мА | 200 мА | 200 мА |
| Частота перехода | 250 МГц | 250 МГц | 250 МГц |
| Коллекционер эмиттер S. | -400 мВ | -400 мВ | -250 мВ |
| Hfe Min | 100 | 100 | 100 |
| Макс мощность Dissipa. | 625 МВт | 625 МВт | 625 МВт |
2N3906 обычно используется для переключения низкоквалифицированных, высоковольтных нагрузок.Он идеально подходит для цепей, где вам нужен надежный переключатель, который не привлекает много мощности, например, светодиодные массивы или простые элементы управления реле.
Его умеренное усиление позволяет ему усиливать сигналы в аудиопроводителях с низким энергопотреблением и других небольших настройках усиления.Хотя он не подходит для мощного усиления, это очень подходит для меньших, последовательных повышений сигнала.
Конструкция PNP делает 2N3906 полезным в цепях инвертора и преобразователя, особенно там, где необходимо управление направлением тока.Он может быть настроен для переключения токов, поддержки функций преобразования в простых конструкциях управления питанием.
Транзистор также можно использовать в цепях, предназначенных для вспышки светодиодов или ламп.Управляя потоком тока на основе входного сигнала, он создает простой эффект мигнута, полезный в индикаторных огнях или предупреждающих сигналах.
Для приложений, нуждающихся в более высоком усилении, 2N3906 может быть в паре с другим транзистором в конфигурации Дарлингтона.Эта настройка усиливает ток еще дальше, что позволяет управлять немного большими нагрузками, сохраняя при этом хорошую производительность.



На полупроводнике, широко уважаемом производителе, фокусируется на обеспечении эффективных решений управления электроэнергией и сигналами.Их продукты, в том числе 2N3906, предназначены для удовлетворения потребностей широкого спектра приложений, от автомобилей и связи до вычислений, потребительской электроники и промышленных систем.Известный своим инновациями и приверженностью качеству, на полупроводнике предлагает надежные компоненты, которые используются инженерами и дизайнерами по всему миру для создания эффективных, устойчивых решений.Их акцент на эффективность энергетики помогает поддерживать экологически чистые и энергосберегающие проекты в нескольких отраслях.
Пожалуйста, отправьте запрос, мы ответим немедленно.
Транзистор 2N3906BU имеет 3 контакта, которые являются эмиттером, базой и коллекционером.
2N3906BU работает в пределах температурного диапазона от -55 ° C до 150 ° C, что поддерживает использование в различных условиях.
2N3906 - это биполярное переходное транзистор PNP, что означает, что он позволяет поток тока, когда основание находится при более низком напряжении, чем эмиттер.
2N3906 работает на умеренно высоких скоростях, что делает его подходящим для быстрого переключения задач в цепях.
Транзистор 2N3906 обычно используется в качестве переключателя или усилителя, в зависимости от конфигурации схемы.
2N3906 имеет высокое напряжение коллекционера к эмиттере, что позволяет ему обрабатывать более высокие напряжения в приложениях с низким уровнем тока.
VBE для 2N3906 составляет 5 В, что определяет напряжение, необходимое для активации основания и разрешения потока тока.
2N3906 работает в двух основных регионах: область насыщения, где Он полностью включен, и область отсечения, где он полностью отключен.
на 2024/11/14
на 2024/11/14
на 8000/04/18 147757
на 2000/04/18 111931
на 1600/04/18 111349
на 0400/04/18 83718
на 1970/01/1 79508
на 1970/01/1 66881
на 1970/01/1 63010
на 1970/01/1 62973
на 1970/01/1 54081
на 1970/01/1 52107