
А LM7809 является надежным положительным регулятором напряжения, известный для обеспечения устойчивой выходной сигнала 9 В в различных приложениях.Благодаря его способности обрабатывать токи между 1А и 1,5А, он находит широкое использование в таких областях, как робототехника и встроенные системы, где постоянное подавление напряжения является серьезным.Для достижения оптимальной производительности LM7809 требует входного напряжения не менее 11 В, поддерживая минимальный запас 2 В для обеспечения своего регулируемого выхода.Проектирование надлежащего источника питания с адекватным входным резервом необходим для обеспечения эффективности и предотвращения перерывов в потоке питания.
При поддержке входных напряжений до 35 В, LM7809 оказывается очень адаптируемым к средам, где распространены колебания напряжения, такие как автомобильная электроника и полевые приборы.Его способность обрабатывать скачки напряжения повышает надежность, что делает его предпочтительным выбором для управления системами с переменными условиями ввода.Однако используется управление рассеянием тепла, поскольку разница в напряжении между входом и выходным сигналом генерирует тепло.Для обеспечения эффективной работы и продления срока службы устройства требуется надлежащая тепловая конструкция, включая использование соответствующих радиаторов, требуется для обеспечения эффективной работы и продления срока службы устройства.
Встроенные функции, такие как тепловое отключение и защита короткого замыкания, еще больше повышают надежность LM7809, защищая ее в неблагоприятных условиях.Эти средства защиты делают регулятор ценным как в коммерческих, так и в образовательных контекстах, предлагая не только надежную производительность, но и возможности для практического обучения о безопасности схем.Эти встроенные гарантии способствуют ее практичности в приложениях, требующих высокой надежности и низкого обслуживания, укрепляя его роль в качестве универсального регулятора напряжения.

|
Штифт № |
Название вывода |
Описание |
|
1 |
Ввод (V+) |
Нерегулируемое входное напряжение |
|
2 |
Земля |
Подключен к земле |
|
3 |
Вывод (VO) |
Выходы регулируются +9 В |
|
Особенность |
Подробности |
|
Ток выходной диапазон |
От 1А до 1,5а |
|
Экономическая эффективность |
Да |
|
Применение пригодности |
Коммерческие приложения |
|
Выходное напряжение |
Устойчивый и последовательный выход 9 В |
|
Максимальное входное напряжение |
35V DC |
|
Потребление тока в режиме ожидания |
Чрезвычайно низко, всего 8 мА |
|
Минимальное необходимое входное напряжение |
11 В |
|
Максимально допустимое входное напряжение |
35 В. |
|
Коэффициент отклонения источника питания (PSRR) |
55 дБ |
|
Выходное допуск напряжения |
9 В ± 4% |
|
Выпадающее напряжение (VI-VO) |
2,0 В. |
|
Вывод типа |
Зафиксированный |
|
Тепловая защита и защита тока |
Внутренняя тепловая перегрузка и ток короткого замыкания
Ограничение |
|
Максимальная температура соединения |
125 ° C. |
|
Типы пакетов |
До-220, TO-3, KTE |
|
Тип |
Параметр |
|
Номинальный ток снабжения |
5 мА |
|
Крыжительный ток |
8 мА |
|
Выходная конфигурация |
Положительный |
|
Отступие напряжения (макс) |
2V @ 1A тип |
|
Терминальная позиция |
ОДИНОКИЙ |
|
Особенности защиты |
Над температурой, короткий замыкание |
|
Отметное напряжение |
2 В |
|
Обратное напряжение1-ном |
2 В |
|
Точность выходного напряжения |
4% |

Известный 7809 Регулятор напряжения известен не только своей точностью в выходе, но и своей отличительной способностью обеспечивать чрезвычайно плавное питание напряжения, часто превосходя многие преобразователи DC-DC в этом отношении.Однако генерирование большего количества тепла является заслуживающим внимания побочным продуктом этого атрибута.Эта превосходная гладкость в значительной степени обусловлена наличием транзистора серии на выходе, который играет ключевую роль в обуздании избыточного напряжения.
Чтобы различить количество рассеиваемой мощности, можно применить формулу: (Входное напряжение - выходное напряжение) x выходной ток.Предположим, что входное напряжение составляет 12 В с соответствующим выходным током 1a.В этой ситуации рассеяние мощности считается 3 Вт, что позволяет предположить, что эффективные стратегии теплового управления, такие как радиаторы, рекомендуются.
Необходимость для управления теплом становится очевидной, поскольку рассеяние регулятора превышает 1,25 Вт - порог, за которым требуется дополнительное охлаждение.В конструкции схемы обеспечение достаточного рассеяния тепла является конечной задачей, полезной для поддержания как производительности, так и системной надежности.
Регулятор 7809 напряжения играет окончательную роль в обеспечении надежной выходной мощности 9 В в сценариях, где среда ввода может варьироваться.Он эффективно обрабатывает входные напряжения между 11 В и 35 В, обеспечивая устойчивый выходной ток, который обычно превышает 1А, причем пиковые возможности достигают 2,2а.Это делает это подходящим выбором для вас, кто ценит надежность.
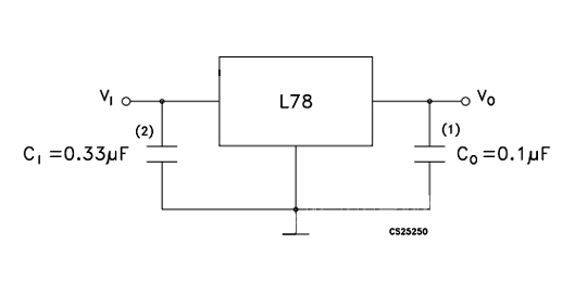
Когда источник питания расположен на расстоянии более 10 дюймов от места установки, рекомендуется включать входной конденсатор 0,33 UF или больше.Выбор конденсаторов с низким эквивалентным серийным сопротивлением (ESR) может помочь уменьшить потерю энергии.Эти конфигурации играют заметную роль в повышении производительности регулятора напряжения, в основном в поддержании стабильности на фоне различных условий.
7809 9V регулятор с байпасами

Добавление необязательного выходного конденсатора 0,1 млн может значительно улучшить переходную реакцию 7809.Это приводит к заметным улучшениям при столкновении с колебаниями нагрузки или входного напряжения, тем самым повышая общую устойчивость системы.Несмотря на то, что обычно практикуется, проницательно изучать пользовательские конфигурации, адаптированные к конкретным экологическим требованиям.

• LM7806
• LM7824
• LM7815
• LM7812
• LM317
• LM7905
• LM7912
LM7809 широко используется для обеспечения последовательной мощности 9 В, который в основном подходит для микроконтроллеров и датчиков.Способность этого устройства поддерживать производительность, несмотря на колеблющиеся входные напряжения, подтверждает целостность чувствительных данных датчиков и деятельности микроконтроллера, что в конечном итоге повышает долговечность электронных систем.Обеспечение эффективного регулирования напряжения часто реализуется в практических приложениях, чтобы избежать таких проблем, как коррупция данных или потеря в микроконтроллерах.
Когда необходимо точное сокращение от более высоких напряжений до 9 В, LM7809 превосходит из -за его мастерства в минимизации несоответствий напряжения.Эта функция особенно ценна в сценариях, в которых устройства, такие как сложные системы домашней автоматизации или портативная электроника, уязвимы к угрозам перенапряжения.Интеграция LM7809 снижает вероятность вреда, вызванного изменением входного напряжения.
В рамках систем питания LM7809 распознается для обеспечения постоянного вывода, полезного для регулярных операций.Как в промышленных условиях, так и в потребительской электронике, это предотвращает нарушения электроэнергии, которые могут привести к дорогостоянию или неумелому управлению данных.Его встроенная тепловая защита добавляет слой устойчивости, позволяя LM7809 обрабатывать временные условия, обычно встречающиеся в средах.
При использовании в настройках двигателя LM7809 обеспечивает стабильность, необходимую для постоянного выполнения двигателей.Этот атрибут является основным для таких приложений, как робототехника или точное производство, где двигатели должны работать на назначенных скоростях или крутящих моментах.Способность регулятора к плавным колебаниям напряжения обеспечивает поддержание эффективности работы.
В системах зарядки батареи и солнечной энергии LM7809 играет основную роль в обеспечении постоянного напряжения зарядки, тем самым продлевая срок службы батареи и эффективность.Это в основном полезно в солнечных системах с переменными входными напряжениями в течение дня.Интеграция LM7809 поддерживает оптимизированный цикл зарядки в различных условиях ввода.
Функционируя в качестве основного источника питания для микроконтроллеров LM7809 смягчает проблемы, связанные с чувствительностью к мощности и согласованности.Предоставление постоянного источника питания используется в сложных настройках, где точная стабильность питания обеспечивает бесшовную работу задач, управляемых микропроцессором.
LM7809 является ценным в рамках регулируемых систем регулятора, где для различных этапов необходимы различные уровни напряжения.Он также помогает в ситуациях, когда требуются текущие ограничения, защищая взаимосвязанные устройства от неожиданных всплесков.Включив LM7809, вы можете обеспечить не только постоянство напряжения, но и эффективное управление током, это может отсутствовать в более широких конструкциях системы.
В системах двойного снабжения, требующих защиты выходной полярности, LM7809 обеспечивает защиту от неверных соединений.Этот аспект требуется в сложных электронных конструкциях, где обратная полярность может привести к повреждению компонентов.Возможность LM7809 выдержать такие условия без потери производительности, вводит значительную устойчивость, способствуя непрерывной работе системы.




Регулятор напряжения LM7809 является надежным решением для поддержания устойчивого выхода 9 В, демонстрируя замечательную производительность в различных электронных приложениях.Его прямая конструкция в сочетании с такими надежными функциями, как тепловая защита и безопасность короткого замыкания, обеспечивает надежность как в прототипировании, так и в готовых системах.Решая такие проблемы, как колебания напряжения и рассеяние тепла, LM7809 повышает эффективность и долговечность устройства.По мере развития технологии LM7809 продолжает играть динамическую роль в обеспечении стабильной энергии, стимулировании инноваций и обеспечении долговечности электронных конструкций для вас.
Пожалуйста, отправьте запрос, мы ответим немедленно.
LM7809 играет замечательную роль, обеспечивая надежный позитивный выход 9 В, решая проблемы локализованного регулирования напряжения на карте для облегчения сложностей распределения.Благодаря своей стабильной поддержке он повышает надежность питания и смягчает потенциальные нарушения в электронных цепях, обеспечивая чувство безопасности для системных интеграторов.
Обеспечивая постоянный выход 9 В, LM7809 может поставлять до 1А тока и вместить спектр входного напряжения в диапазоне от 11 до 35 В.Эта гибкость способствует его применимости в адаптации к различным сценариям управления электроэнергией, что делает его активом для тех, кто стремится гармонировать различные электронные потребности.
В качестве трехместного устройства LM7809 требуется входное напряжение постоянного тока от 12 до 25 В., внедряет входной конденсатор фильтра, а также радиатор для решения проблем теплового управления, особенно в условиях высокой нагрузки.Этот практический подход способствует долгосрочной и эффективной производительности схемы.
Период и устойчивый вход постоянного тока в регулятор напряжения является необходимым для достижения бесшовного регулирования и постоянной производительности выхода.Тщательное рассмотрение качества соединений и стратегическое размещение компонентов может предотвратить сбои, тем самым сохраняя целостность электронной конфигурации.
Создание базовой конструкции часто включает сочетание регулятора линейного напряжения 7805 с конденсаторами, чтобы реализовать желаемое постоянство напряжения.Этими простыми настройками могут быть шагающие камни для разработки более сложных систем, выявляя понимание эффективного управления питанием в электронных устройствах.
на 2024/11/28
на 2024/11/28
на 8000/04/18 147757
на 2000/04/18 111931
на 1600/04/18 111349
на 0400/04/18 83718
на 1970/01/1 79508
на 1970/01/1 66881
на 1970/01/1 63010
на 1970/01/1 62973
на 1970/01/1 54081
на 1970/01/1 52107