
А TIP42C Воплощает транзистор PNP, размещенный в пластиковой упаковке TO-220.Эта серия включает в себя четыре вариации: TIP42В TIP42A В TIP42Bи TIP42C.TIP42C выделяется своей емкостью напряжения, способная обрабатывать до -100 В, предлагая исключительную универсальность для многочисленных использования переключения и усиления.Его частое сочетание с аналогом NPN, TIP41C, также подчеркивает его сбалансированное применение в электронных конструкциях.
Предназначенный для рассеяния до 65 Вт и управления максимальным током коллекционера -6a, TIP42C предпочитается в мощных контекстах.Типичные утилизации включают в себя усилители аудио, где доминирующая звуковая ясность и системы управления питанием, обеспечивая постоянный поток энергии.Опираясь на практическое использование, стабильность TIP42C в различных температурных условиях делает его неоценимым для переключения регуляторов в единицах питания.Пакет TO-220 увеличивает его рассеяние тепла, значительно продлевая его эксплуатационную жизнь, черту, ценную как в потребительской электронике, так и в промышленной технике.
Когда система требует дополнительных паров транзисторов, TIP42C в сочетании с TIP41C появляется как отличный выбор.Эта синергия упрощает дизайн схемы, повышая общую производительность.Это спаривание повышает качество звука в схемах амплификации аудио, тонкое, но эффективное улучшение аудиотехнологии.В серии TIP42 заметная более высокая вместимость TIP42C делает его идеальным для высоковольтных применений.С другой стороны, для проектов с более низким напряжением может быть достаточно TIP42 и TIP42A.Тем не менее, для более напряженных требований, TIP42B и TIP42C являются вариантами.Каждое вариант несет уникальные атрибуты, подходящие для конкретных требований, что делает процесс отбора серьезным и увлекательным.

|
Штифт № |
ПИН Имя |
Описание |
|
1 |
База |
Контролирует смещение транзистора и используется для
Включить/выключить транзистор |
|
2 |
Коллекционер |
Куда течет ток, обычно подключенный к нагрузке |
|
3 |
Излучатель |
Где течет ток, обычно подключается к земле |



|
Особенность |
Спецификация |
|
Тип транзистора |
Pnp |
|
Тип пакета |
До-220 |
|
Max Collector Cury (IC) |
-6a |
|
Max Collector-Emitter напряжение (VCE) |
-100 В. |
|
Max Collector-Base напряжение (VCB) |
-100 В. |
|
Максимальное напряжение из эмиттера (Vebo) |
-5V |
|
Max Collector Dissipation (ПК) |
65 Вт |
|
Максимальная частота перехода (Ft) |
3 МГц |
|
DC ток прирост (HFE) |
15 - 75 |
|
Максимальная температура хранения и рабочей |
-65 до +150 ° C. |
Серия TIP42C представляет собой дополнительную конструкцию PNP-NPN, заметно повышая эффективность и производительность цепи.Дополнительные пары, такие как те, которые обнаружены в этой серии, облегчают бесшовную работу как в сценариях усиления, так и в сценариях переключения, тем самым снижая необходимость в дополнительных компонентах и оптимизации схем.
Поразительное преимущество серии TIP42C заключается в его высокоскоростной возможности переключения.Эта функция поддерживает быстрые переходы состояния с минимальной задержкой, идеально подходит для приложений, требующих быстрого времени отклика, таких как управление двигателем и обработка сигналов.Способность компонента быстро переключать общую эффективность и надежность системы, что делает его предпочтительным выбором для цепей питания, которые требуют стабильной и эффективной работы.
Серия TIP42C выделяется благодаря улучшению линейности HFE.Повышенная линейность в текущем усилении (HFE) обеспечивает последовательные свойства усиления в рамках разнообразных условий эксплуатации.Эта надежность приводит к более предсказуемой и стабильной производительности, особенно активной для обработки аналоговых сигналов и точных инструментов.В практических приложениях это означает, что операционные усилители и аналоговые схемы могут достичь высокой верности, сохраняя целостность сигналов, которые они обрабатывают.
TIP42C Transistors сгруппировали значения HFE, классифицированные на основе их текущего диапазона усиления.Это дает преимущество в приложениях, требующих подходящих пар путем упрощения процесса проектирования и сокращения индивидуальных усилий по тестированию.Сгруппированные значения HFE гарантируют, что парные транзисторы функционируют равномерно функционировать, аспект ослабления в конструкциях дифференциальных усилителей и других конфигураций симметричной схемы.
|
Тип |
Параметр |
|
Статус жизненного цикла |
Активный (последний обновлен: 8 месяцев назад) |
|
Время выполнения завода |
8 недель |
|
Устанавливать |
Через дыру |
|
Монтажный тип |
Через дыру |
|
Пакет / корпус |
До 220-3 |
|
Количество булавок |
3 |
|
Масса |
4.535924G |
|
Материал транзистора |
Кремний |
|
Напряжение разбивки коллекционера-эмиттер |
100 В |
|
Количество элементов |
1 |
|
hfemin |
15 |
|
Рабочая температура |
150 ° C TJ |
|
Упаковка |
Трубка |
|
Код JESD-609 |
E3 |
|
Статус частично |
Активный |
|
Уровень чувствительности влаги (MSL) |
1 (неограниченный) |
|
Количество терминаций |
3 |
|
Код ECCN |
Ear99 |
|
Терминальная отделка |
Матовая олова (SN) |
|
Напряжение - рейтинг DC |
-100 В. |
|
Максимальная диссипация власти |
65 Вт |
|
Текущий рейтинг |
-6a |
|
Базовый номер детали |
TIP42 |
|
Подсчет штифтов |
3 |
|
Конфигурация элемента |
Одинокий |
|
Рассеяние власти |
65 Вт |
|
Приложение транзистора |
Переключение |
|
Получить продукт полосы пропускания |
3 МГц |
|
Полярность/Тип канала |
Pnp |
|
Тип транзистора |
Pnp |
|
Напряжение излучателя коллекционера (VCEO) |
100 В |
|
Макс Коллекторный ток |
6A |
|
DC ток усиление (HFE) (min) @ IC, VCE |
15 @ 3A 4V |
|
Ток - срез коллекционера (макс) |
700 мкА |
|
Jedec-95 код |
До-220AB |
|
Vce saturation (max) @ ib, ic |
1,5 В @ 600MA, 6A |
|
Частота перехода |
3 МГц |
|
Базовое напряжение коллекционера (VCBO) |
100 В |
|
Напряжение базового излучения (Vebo) |
5 В |
|
Высота |
15,75 мм |
|
Длина |
10,4 мм |
|
Ширина |
4,6 мм |
|
Достичь SVHC |
Нет SVHC |
|
Радиационное упрочнение |
Нет |
|
Статус ROHS |
ROHS3 соответствует |
|
Свободно привести |
Свободно привести |
|
Номер части |
Описание |
Производитель |
|
2N2646-JQR-AR1 |
Силовой биполярный транзистор, 10A (IC), 70V V (BR) генеральный директор,
1-элементный, PNP, кремний, до 204AA, металл, 2-бун, герметичный герметичный, металл,
TO-3, 2 PIN |
TT Electronics резисторы |
|
2n2646-modr1 |
10A, 70V, PNP, SI, Power Transistor, TO-204AA, Герметика
Запечатанный, металлический, 3, 2 штифта |
TT Electronics Power и Hybrid / Semelab Limited |
|
Bux66 |
Транзистор |
Генеральное электрическое твердое состояние |
|
Jan2n6212 |
Транзистор, BJT, PNP, 300V (BR) генеральный директор, 2A IC, TO-66 |
Intersil Corporation |
|
MJ2500 |
Средний силовой транзисторы дополняют кремнию |
New Jersey Semiconductor Products Inc |
|
2N4240R1 |
5A, 300V, NPN, SI, Power Transistor, TO-66, TO-66, 2 PIN |
TT Electronics Power и Hybrid / Semelab Limited |
|
2N2647 |
Транзистор |
API Technologies Corp |
|
2N2647-JQR-B |
Силовая биполярная транзистор, 10A (IC), 90V V (BR) генеральный директор,
1-элементный, PNP, кремний, до 204AA, металл, 2-бун, герметичный герметичный, металл,
TO-3, 2 PIN |
TT Electronics резисторы |
|
2N6313-мод |
5A, 600V, PNP, SI, Power Transistor, TO-213AA, Герметика
Запечатанный, металлический, до 66, 2 штифта |
TT Electronics Power и Hybrid / Semelab Limited |
|
Jan2n6211 |
Силовая биполярная транзистор, 2A (IC), 225V V (BR) Генеральный директор,
1-элементный, PNP, кремний, TO-66, металл, 2-контактный, до 66, 2 кондиционера |
Microsemi Corporation |
•TIP41C Транзистор
Транзистор TIP41C предназначен для обработки напряжения коллекционера-эмиттера (VCE) до 100 В.Он способен управлять током коллекционера (IC) 6A без ущерба для производительности.Этот транзистор может рассеять мощность до 65 Вт, что делает его подходящим для приложений, где управление телом вызывает беспокойство.TIP41C имеет температуру соединения (TJ), которая может достигать 150 ° C, что обеспечивает надежность при существенном тепловом напряжении.
Работая в рамках температуры хранения от -65 ° C до 150 ° C, TIP41C может выдержать суровые условия.Его надежная конструкция обеспечивает функциональность в различных требованиях.Аудио -усиление и обработка сигналов.Транзистор TIP41C часто находит его использование в системах усиления аудио, где он способствует ясности и мощности звука.В приложениях управления двигателями он помогает регулировать скорость двигателя, обеспечивая плавный и эффективный переход между двигательными состояниями.Эта возможность тесно связана с его текущими свойствами обработки.TIP41C служит в ретрансляционных драйверах из-за его способности эффективно переключать и управлять высокими нагрузками.Его способности управления питанием обеспечивают постоянную производительность.
При интеграции TIP41C в схему рассмотрите соответствующий радиатор, чтобы предотвратить перегрев, что может повлиять на производительность и продолжительность жизни.Обратите внимание на его напряжение насыщения (VCE (SAT)) и время переключения (TON и TOFF) при проектировании цепей, которые требуют быстрого переключения, поскольку эти параметры влияют на общую эффективность и скорость.Правильное смещение требуется для поддержания стабильности TIP41C в различных условиях эксплуатации.Оцените внешние резисторы и конденсаторы, чтобы обеспечить надежную производительность.
TIP42C находит широкое использование в мощных применениях в электронных схемах, опытно управляя до -6A -током коллекционера и напряжением -100В коллекционера -эмиттер -эмиттер.
Из-за его значительных возможностей для управления током и напряжением TIP42C является хорошим выбором для управления мощными переключателями и реле.Эти приложения включают системы управления двигателем, где точность подачи мощности в двигатель может значительно повлиять на производительность.Например, в промышленной автоматизации работа тяжелой техники часто зависит от транзисторов для обработки высоких нагрузок, не поддаваясь перегреву или отказам.
TIP42C также эффективен в питании аудио-усилителей высокой мощности, что позволяет амплификации аудио до 65 Вт.Это обеспечивает четкий и мощный звуковой выход, который подходит для потребительских аудиосистем.Например, надежное усиление, обеспечиваемое этими транзисторами, опасно в живых концертных звуковых системах, что обеспечивает повышение аудиосигналов без искажений.
TIP42C находит широкое использование в общих конструкциях схемы из -за его характеристики в качестве транзистора биполярного соединения PNP.Его устойчивость позволяет умело обрабатывать широкий массив уровней напряжения и тока, тем самым повышая стабильность цепи.При использовании в общих конфигурациях излучения это вносит значительный вклад в усиление сигналов напряжения.
В приложениях зарядки аккумулятора TIP42C является основным для регулирования напряжения зарядки и тока, обеспечивая быстрый и надежный процесс.Наблюдения из фактических применений подчеркивают тепловое управление как настойчивое поддержание постоянной эффективности в течение длительных периодов.
TIP42C находит эффективное использование в конфигурациях пар Дарлингтона для получения более высокого усиления тока.Это расположение заметно усиливает входные токи, что делает его подходящим для приложений, требующих превосходного усиления тока.Использование радиаторов в практических реализациях помогает поддерживать эксплуатационную стабильность и продлить срок службы устройства.

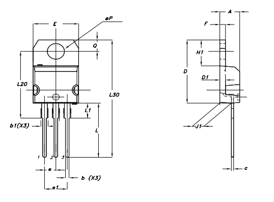
|
Тусклый |
мм |
дюйм |
||||
|
Мин |
Тип |
Максимум |
Мин |
Тип |
Максимум |
|
|
А |
4.4 |
4.6 |
0,173 |
0,181 |
||
|
беременный |
0,61 |
0,88 |
0,024 |
0,034 |
||
|
B1 |
1.14 |
1.7 |
0,044 |
0,066 |
||
|
в |
0,49
|
0,7 |
0,019 |
0,027 |
||
|
Дюймовый |
15.25 |
15,75 |
0,6 |
0,62 |
||
|
D1 |
1.27 |
0,05 |
||||
|
Эн |
10 |
10.4 |
0,393 |
0,409 |
||
|
эн |
2.4 |
2.7 |
0,094 |
0,106 |
||
|
E1 |
4.95 |
5.15 |
0,194 |
0,202 |
||
|
Фон |
1.23 |
1.32 |
0,048 |
0,051 |
||
|
H1 |
6.2 |
6.6 |
0,244 |
0,256 |
||
|
J1 |
2.4 |
2.72 |
0,094 |
0,107 |
||
|
Л |
13 |
14 |
0,511 |
0,551 |
||
|
L1 |
3.5 |
3.93 |
0,137 |
0,154 |
||
|
L20 |
16.4 |
0,645 |
||||
|
L30 |
28.9 |
1.137 |
||||
|
Øp |
3.75 |
3.85 |
0,147 |
0,151 |
||
|
Q. |
2.65 |
2.95 |
0,104 |
0,116 |
||
STMICROELECTRONICS является пионером в полупроводниковых инновациях, превосходящей в основном в технологии системы на чипе (SOC).Компания предлагает широкий спектр решений из кремния и систем, чтобы удовлетворить различные микроэлектроники.
Stmicrolectronics, известный своей технологией SOC, интегрирует несколько функций в один чип, повышая эффективность и производительность.В быстро развивающемся технологическом ландшафте желающие компактные и надежные обработки.Благодаря непрерывным инновациям и адаптации, Stmicroelectronics гарантирует, что их решения SOC достигают этого случая, отражая мудрость, достигнутую с помощью многолетнего опыта.
Stmicrolectronics обеспечивает широкий спектр кремниевых растворов в микроконтроллерах, аналоговых и компонентах смешанного сигнала, датчиков и Power ICS.Эти элементы являются ключевыми в создании передовых электронных систем, способствующих бесшовной интеграции и оптимальной функциональности.Их системные решения воплощают глубокое понимание аппаратных и программных взаимодействий, что позволяет их продуктам превосходно работать в различных условиях.Портфель обширной интеллектуальной собственности (IP) Stmicroelectronics означает его приверженность непрерывным инновациям.Это богатство патентов и проприетарных технологий дает компанию предоставить уникальные и актуальные решения.Стратегически используя свои активы IP, они предлагают четкие преимущества в разработке продуктов, так же, как использование накопленной экспертизы для стимулирования продолжающихся инноваций.
Сильные производственные возможности Stmicrolectronics обеспечивают постоянное качество продукции и надежность.Используя современные объекты и строгие меры контроля качества, каждый продукт соответствует строгим отраслевым стандартам.Принятие передовых методов производства и культура постоянного улучшения позволяет компании поддерживать свои конкурентные преимущества на рынке полупроводников.
TIP42C представляет собой транзистор PNP на основе кремния, похващенный его эффективностью как в приложениях для амплификации, так и в переключении.Его серьезные электрические характеристики включают толерантность к напряжению 100 В на терминалах коллекционера-эмиттер и базовых коллектора.Универсальность этого транзистора позиционирует его как предпочтительный вариант в многочисленных электронных цепях.
Обеспечение долговечности TIP42C в цепях включает в себя соблюдение различных лучших практик, соответствующая тепловое управление является конечным.Использование хорошо подходящего радиатора может привести к снижению рисков перегрева.Адекватный базовый резистор необходим для управления базовым током, тем самым предотвращая ненужное рассеяние мощности.Опытно избегать превышающих пределов нагрузки -6A и -100V для предотвращения электрического напряжения, что может подорвать целостность транзистора.Поддержание условий эксплуатации не менее чем на 20% ниже максимальных рейтингов является мудрым подходом.Этот буфер может продлить срок службы компонента и повысить общую надежность.Практический опыт в области электроники демонстрирует, что консервативные операционные маржи способствуют как долговечности, так и стабильности системы.Кроме того, обеспечение того, чтобы хранение и рабочие температуры оставались в пределах от -65 ° C до +150 ° C, жизненно важно для сохранения кремниевой структуры транзистора.
Пожалуйста, отправьте запрос, мы ответим немедленно.
на 2024/10/18
на 2024/10/18
на 8000/04/18 147758
на 2000/04/18 111946
на 1600/04/18 111349
на 0400/04/18 83722
на 1970/01/1 79508
на 1970/01/1 66916
на 1970/01/1 63074
на 1970/01/1 63012
на 1970/01/1 54081
на 1970/01/1 52143