
А JS28F320C3TD70 это 32-мегабитное (2M x 16) Advanced+ Block Block Flash Memorment.Он предлагает высокоскоростные асинхронные операции чтения с максимальным временем доступа 70 наносекунд.Память организована в восемь блоков параметров с 4 квадратным словом и тридцать два основных блока 32-kword, предоставляя гибкий код и параметры хранения данных.Он поддерживает операции чтения при 1,8 В или 3 В, а также стирание и программные функции при 3 В или 12 В VPP, что позволяет создавать универсальные конфигурации напряжения.Устройство включает в себя 128-битный регистр защиты для улучшенной безопасности данных и функционирует блокировки/разблокировку памяти для защиты критического системного кода и данных.Потребление с низким энергопотреблением достигается за счет автоматической экономии питания (APS), режима резервного режима и режима глубокого снижения.JS28F320C3TD70 доступен в пакете TSOP с 48 лидами.
Мы предлагаем конкурентоспособные цены на объемные заказы JS28F320C3TD70.Пожалуйста, свяжитесь с нами для получения дополнительной информации или запросить цитату

JS28F320C3TD70 имеет 48-контактный макет TSOP, с адресными контактами (A0-A21) с обеих сторон, используемых для доступа к местоположениям памяти.Он включает в себя контакты данных (DQ0 - DQ15) для чтения и написания данных, а также управляющие контакты, такие как We# (write inable), OE# (вывод включение) и CE# (inable chip) для управления операциями.Выводы питания (VCC и GND) обеспечивают необходимое напряжение.Дополнительные контакты, такие как RP# (Reset/Power-Down) и WP# (write protect), помогают управлять функциями памяти и сброса.Этот макет обеспечивает плавную связь между чипом и другими компонентами в схеме.
Эта часть содержит ваши данные, даже когда питание отключается, что делает ее надежным выбором для хранения программ и системного кода.Вам не нужно беспокоиться о потере информации во время выключений или перезапуска.
С 32 мегабитами памяти вы получаете достаточно места для управления как кодом, так и хранилищем данных.Он организован для эффективности, что дает вам гибкость для проектирования систем без места.
JS28F320C3TD70 использует 2-мегадорд на 16-битной установке.Это означает, что он перемещает данные в более широких кусках, что помогает со скоростью и делает их полезным для приложений, которые нуждаются в быстром доступе.
Он использует параллельный интерфейс, который позволяет быстрым передачам данных между памятью и вашей системой.Эта установка продолжает работать гладко, особенно когда скорость наиболее важна.
Вы получаете смесь маленьких и больших блоков, с загрузочными блоками, размещенными в верхней или нижней части карты памяти.Этот дизайн помогает отделить код запуска от других данных, уменьшить ошибки и повысить надежность.
Время записи всего 70 наносекунд означает, что вы можете быстро обновить память.Эта скорость помогает сократить время простоя системы и повышать общую производительность.
С быстрой времени доступа 70 наносекунд ваша система может считывать хранимых данных почти мгновенно.Это делает JS28F320C3TD70 идеальным для чувствительных ко времени задач.
Технические характеристики Micron Technology, JS28F320C3TD70.
| Продукт Атрибут | Значение атрибута |
| Производитель | Микрон технологии |
| Писать Время цикла - слово, страница | 70NS |
| Напряжение - Поставлять | 2,7 В ~ 3,6 В. |
| Технология | Flash - Boot Block |
| Поставщик Пакет устройства | 48-tsop i |
| Ряд | - |
| Упаковка / Случай | 48-TFSOP (0,724 дюйма, 18,40 мм Ширина) |
| Упаковка | Поднос |
| Работа Температура | -40 ° C ~ 85 ° C (TA) |
| Монтаж Тип | Поверхностное крепление |
| Память Тип | Нелетущий |
| Память Размер | 32 Мбит |
| Память Организация | 2m x 16 |
| Память Интерфейс | Параллель |
| Память Формат | ВСПЫШКА |
| База Номер продукта | JS28F320C3 |
| Доступ Время | 70NS |

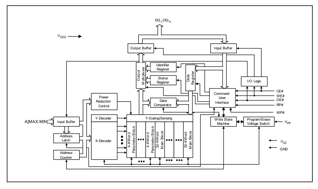
Блок -схема JS28F320C3TD70 показывает, как различные части чипа работают вместе.Ввод адреса проходит через защелку и декодер, чтобы найти правильное местоположение памяти.Данные перемещаются и выходят через буферы и регистры, обеспечивая плавное чтение и письмо.Управляющие сигналы, такие как CE#, мы#и OE#помогают управлять операциями, в то время как машина для состояния записи обрабатывает программирование и стирание.Переключатель напряжения регулирует уровни мощности при необходимости.Блоки памяти хранят данные с некоторыми разделами, предназначенными для специальных функций.Эта настройка обеспечивает быстрый и надежный доступ к хранимой информации.
JS28F320C3TD70 хорошо работает в встроенных системах, где надежное хранилище кода и быстрый доступ.Его структура памяти позволяет легко хранить прошивку и запускать программное обеспечение без задержек.Вы можете рассчитывать на это для долгосрочного удержания данных и быстрого ответа системы.
В телекоммуникационном оборудовании время и производительность - это все.Эта флэш -память поддерживает плавную обработку данных, быстрые скорости чтения и низкое использование мощности, что помогает поддерживать постоянный поток связи.Он вписывается прямо в маршрутизаторы, коммутаторы и другие сетевые системы.
Современные транспортные средства используют больше цифрового элемента управления, чем когда -либо.Эта часть помогает энергосистемам, таким как информационно -развлекательная информация, блоки управления двигателями и дисплеи приборной панели.Он надежно удерживает прошивку и быстро справляется с требованием автомобильной среды.
На заводах и настройках автоматизации стабильность и быстрый доступ к данным являются ключевыми.Этот чип памяти поддерживает системы, которые контролируют и управляют машинами, сохраняя операции гладкими и отзывчивыми даже в условиях высокой нагрузки.

|
|
Миллиметры | Дюймы | ||||||
| Параметр | Символ | Мин | Номинальный | Максимум | Примечания | Мин (дюймы) | Nom (дюймы) | Макс (дюймы) |
| Высота упаковки | А | - | - | 1.2 | - | - | - | 0,0472 |
| Высота мяча | А1 | 0,25 | - | - | - | 0,0098 | - | - |
| Упаковка толщины тела | A2 | - | 0,78 | - | - | - | 0,0307 | - |
| Шар (свинец) ширина | беременный | 0,33 | 0,43 | 0,53 | - | 0,013 | 0,0169 | 0,0209 |
| Ширина корпуса упаковки | Дюймовый | 9.9 | 10 | 10.1 | 1 | 0,3898 | 0,3937 | 0,3976 |
| Длина корпуса упаковки | Эн | 12.9 | 13 | 13.1 | 1 | 0,5079 | 0,5118 | 0,5157 |
| Подача | эн | - | 1 | - | - | - | 0,0394 | - |
| Мяч (свинец) Считается | Не | - | 64 | - | - | - | 64 | - |
| Самолет сидения Копланарие | У | - | - | 0,1 | - | - | - | 0,0039 |
| Уголок до бала A1 расстояние Вдоль д | S1 | 1.4 | 1.5 | 1.6 | 1 | 0,0551 | 0,0591 | 0,063 |
| Уголок до бала A1 расстояние Вдоль e | С2 | 2.9 | 3 | 3.1 | 1 | 0,1142 | 0,1181 | 0,122 |
• Сильная настройка памяти с дизайном загрузочного блока для лучшей защиты кода
• Быстрая производительность для задач, которые нуждаются в быстром ответе
• Работает надежно в горячей или холодной среде
• Поддерживает операции как 1,8 В, так и 3 В для большей гибкости
• Режимы низкой мощности помогают сэкономить энергию
• Параллельный интерфейс может не соответствовать более новым серийным системам
• Требуется тщательная обработка напряжения для стирания и программных операций
• Немного больший пакет по сравнению с более новыми компактными опциями
| Часть Число | Производитель | Ключевые функции | Вариант использования / примечания |
| JS28F320J3D75A | Micron Technology Inc. | Флэш -память 32 Мбит с 75NS Время доступа, Not Technology Strataflash ™, 56 -центр, работает при 2,7 В - 3.6 В, параллельный интерфейс. | Подходит для хранения кода в Промышленные и автомобильные применения, которые используют, не используют ни вспышки технологии. |
| JS28F256P33TFE | Микрон технологии | 256 МБ AXCELL ™ и флэш -память, Время доступа 105NS работает при 2,3 В - 3,6 В, 56 -центр пакета, параллель интерфейс. | Идеально подходит для больших потребностей хранения В телекоммуникациях, сетевых или встроенных приложениях высокой плотности. |
| JS28F320J3D75E | Micron Technology Inc. | 32MBIT STRATAFLASH ™ NO 75NS Time Time, 56 -TSOP -пакет, 2,7 В - 3,6 В, параллельный интерфейс, От -40 ° C до 85 ° C Диапазон температуры. | Разработан для использования в надежном Такие системы, как автомобильные и промышленные контроллеры, нуждаются в надежной вспышке. |
Micron Technology-это хорошо известное название в пространстве памяти и хранения.Когда вы выбираете продукт Micron, такой как JS28F320C3TD70, вы получаете что -то построенное с опытом и вниманием к деталям.Компания фокусируется на создании памяти, которая работает хорошо и длится долго, помогая вашим системам работать гладко.Независимо от того, работаете ли вы над ежедневной электроникой или более продвинутыми настройками, Micron дает вам надежные варианты, которые соответствуют вашим потребностям.
Чип памяти JS28F320C3TD70 обеспечивает быструю производительность, гибкие параметры хранения и надежную защиту данных.Его структурированная организация обеспечивает плавную работу, в то время как ее низкое энергопотребление помогает повысить эффективность.При поддержке различных уровней напряжения он хорошо вписывается в различные приложения, такие как встроенные системы, телекоммуникационная и автомобильная электроника.Расширенные функции безопасности чипа добавляют дополнительный уровень защиты для критических данных.Ищете ли вы скорость, надежность или энергоэффективность, этот чип памяти обеспечивает прочную производительность для широкого спектра использования.
Пожалуйста, отправьте запрос, мы ответим немедленно.
JS28F320C3TD70 используется во встроенных системах, автомобильной электронике и телекоммуникациях для надежного хранения данных и быстрого доступа.
Он поддерживает 1,8 В или 3 В для операций чтения и 3 В или 12 В VPP для программирования и стирания.
Память разделена на восемь блоков параметров с 4 квадратным словом и тридцать два основных блока 32-kword, позволяющих гибкие данные и хранилище кода.
Он поставляется в 48-личном пакете TSOP, который является компактным и подходит для различных приложений.
Да, он включает в себя 128-битный регистр защиты и функции блокировки блокировки для защиты важных данных.
на 2025/03/21
на 2025/03/21
на 8000/04/18 147758
на 2000/04/18 111958
на 1600/04/18 111349
на 0400/04/18 83726
на 1970/01/1 79510
на 1970/01/1 66929
на 1970/01/1 63078
на 1970/01/1 63019
на 1970/01/1 54086
на 1970/01/1 52155